全球主机交流论坛

 找回密码
 注册

QQ登录

只需一步,快速开始

IP归属甄别会员请立即修改密码
楼主: emjohn105
打印 上一主题 下一主题

INserv 香港vps 中国三网直连 我的已经开通了

[复制链接]
21#
发表于 2018-4-20 01:54:37 来自手机 | 只看该作者
本帖最后由 花样撸管冠军 于 2018-4-20 02:09 编辑
notmya 发表于 2018-4-20 01:47
大概是这几天改价格了。刚出的时候是4刀







老板是在坐等中国大佬上车,然后翻车

全是对中国友好的线路。


22#
发表于 2018-4-20 02:05:22 | 只看该作者
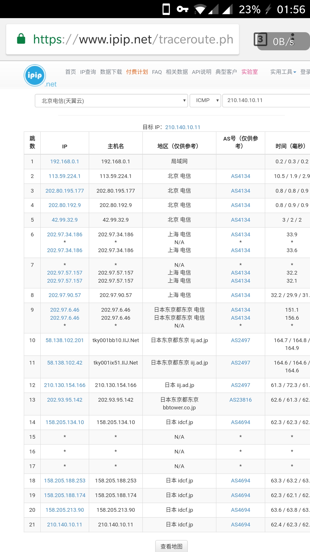
跑个测试啊
23#
发表于 2018-4-20 02:06:19 来自手机 | 只看该作者
说是vpsfast的灵车嘛,不浪费精力了。
24#
发表于 2018-4-20 02:07:52 | 只看该作者
花样撸管冠军 发表于 2018-4-20 01:54
10%的优惠码在哪……没看到

H2J4Q5QYNL
25#
发表于 2018-4-20 03:24:58 来自手机 | 只看该作者
灵车而已,没人d也是跑路
26#
发表于 2018-4-20 07:13:19 | 只看该作者
老板是楼主吗 光这个广告就发了2次了
vpsfast的车,大家早就知道了,不差这几块钱的可以去买了玩
27#
发表于 2018-4-20 07:24:39 来自手机 | 只看该作者
看看这次多快跑路
28#
发表于 2018-4-20 07:41:47 | 只看该作者
或许是前段时间论坛大吊,学习了dedi套路后开的站点
29#
发表于 2018-4-20 08:20:18 | 只看该作者
又到了同行测试的时间了
30#
发表于 2018-4-20 08:22:31 | 只看该作者
这不是 vpsfast么??
您需要登录后才可以回帖 登录 | 注册

本版积分规则

Archiver|手机版|小黑屋|全球主机交流论坛

GMT+8, 2025-11-3 20:14 , Processed in 0.068116 second(s), 7 queries , Gzip On, MemCache On.

Powered by Discuz! X3.4

© 2001-2023 Discuz! Team.

快速回复 返回顶部 返回列表